- 公司新闻
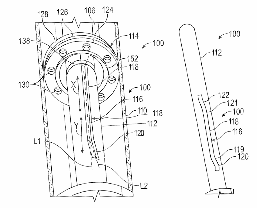
自适应减震器专利设计助力机械调节技术革新通用汽车新型自适应减震器专利通过机械式导杆结构实现阻尼调节,突破传统电子控制局限,其创新导向槽设计可智能适应复杂路况需求... - 公司新闻
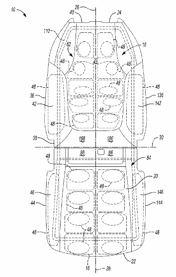
汽车座椅调节专利创新:可调气囊提升舒适度通用汽车专利揭示汽车座椅通过可调气囊与泡沫材料结合,实现动态尺寸调节,革新座舱舒适体验。创新结构可精准适配驾乘者需求,提... - 公司新闻
智能边缘解决方案助力实时响应与AI驱动性能优化安波福通过智能边缘方案实现数据本地化处理,提升交通、机器人及航空航天领域实时响应与系统优化能力,推动AI技术在关键任务场... - 行业动态
汽车半导体助力L3级自动驾驶发展德州仪器最新汽车半导体产品提升自动驾驶安全与计算性能,支持L3级应用,助力智能出行。... - 公司新闻
TomTom Orbis车道模型地图推动自动驾驶数据革新TomTom Orbis车道模型地图通过自动化与可扩展性验证,为自动驾驶和导航系统提供高保真数据支持,重新定义行业数据标...



