- 行业动态
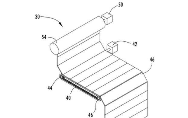
福特申请可卷曲乘客显示系统专利 屏幕如窗帘般收纳福特汽车申请新型乘客显示系统专利,采用柔性显示屏技术,可像窗帘般卷曲收纳。该系统支持多种安装位置,既能作为遮阳帘使用,也... - 公司新闻
白犀牛完成新一轮融资加速L4级无人车规模化量产白犀牛完成新一轮融资,全年累计融资突破1亿美元。公司已实现车规级无人车平台量产准备,业务增速超去年同期20倍,活跃运营车... - 行业动态
比亚迪申请加入全球智慧物联网联盟 推进人车家全场景互联比亚迪正式申请加入全球智慧物联网联盟,将结合自身智能汽车技术优势,共同推进人车家全场景互联标准制定。双方将在AI智能体层... - 公司新闻
比亚迪第1500万辆新能源汽车下线 11月销量创新高比亚迪宣布第1500万辆新能源汽车正式下线,11月销量达48万辆创年内新高。海外市场表现亮眼,单月出口超13万辆同比增长... - 公司新闻
奇瑞新能源销量四连涨破百万辆大关,技术驱动多品牌矩阵全面爆发奇瑞集团11月新能源汽车销量达116,794辆,同比增长50.1%,实现四连涨并创历史新高。前11月累计销量突破80万辆...



